Тема 24. Машини для зрошення
Машини для зрошення
Головне завдання зрошувальних машин — забезпечення різноманітних сільськогосподарських культур водою для одержання високих урожаїв на поливних землях.
В Україні застосовують такі способи зрошення: поверхневе, коли вода розподіляється по поверхні поля; підґрунтове, коли ґрунт зволожується без появи води на поверхні, а вода подається по трубах, закладених у ґрунті; крапельне, коли вода поступово зволожує ґрунт безпосередньо в зоні кореневої системи рослин; дощування, коли водою у вигляді штучного дощу поливають ґрунт і надземні частини рослин за допомогою спеціальних апаратів.
Машини і установки для зрошення мають забезпечити сільськогосподарські культури водою в необхідні терміни і в потрібній кількості за мінімальних витрат. Інтенсивність дощу, розмір краплин і рівномірність поливу регулюють у межах забезпечення оптимальних умов зрошення. Машини мають забезпечити мінімальну енергоємність і трудомісткість поливів.
П о в е р х н е в е з р о ш е н н я за технікою поливу поділяють на три види: полив по борознах, напуском і затопленням.
Полив затопленням здійснюють при заповненні водою ділянок чеків. Такі чеки залежно від рельєфу досягають 50 га. Цей спосіб застосовують для вологозаряджання і промивання ґрунту та зрошення рису.
Полив напуском провадять у напрямку найбільшого схилу з влаштуванням смуг, ширина яких досягає 20 м, а довжина — 500 м. Цей спосіб поливу застосовують для культур суцільної сівби і для вологозарядження. Його можна застосовувати тільки на спланованому полі.
Полив по борознах — кращий із поверхневих способів поливу. Його використовують для зрошення кукурудзи, буряку, картоплі, овочевих, а також плодових культур і виноградників. Полив по борознах здійснюють при спланованій поверхні та схилах від 0,001 до 0,03.
До поливу зрошувального лану на його поверхні нарізають поливні борозни. Найчастіше використовують проточні борозни, в яких вода рухається і одночасно поглинається ґрунтом.

Рис. 13.27. Схема підґрунтового зрошення:
1 — дренажні труби; 2 — кротовини
П і д ґ р у н т о в е з р о ш е н н я провадять за рахунок подавання води в активний шар ґрунту до коренів рослин (рис. 13.27) по трубах 1 або кротовинах 2 на глибині 40...50 см. Воно не руйнує структуру ґрунту, не потребує відкритої мережі, дає змогу механізувати обробіток ґрунту та економно витрачати воду.
К р а п е л ь н е з р о ш е н н я — це один із способів підґрунтового зрошення.
Воно забезпечує надходження води по крапельницях у зону зволоження під дією капілярних сил. При цьому зволожується менший об’єм ґрунту, ніж під час дощування або поверхневого зрошення. Однією з основних переваг крапельного зрошення є подача води невеликими нормами через короткі інтервали часу. За цього способу зрошувальні норми зменшуються у середньому на 20...50 % порівняно зі звичайними способами.
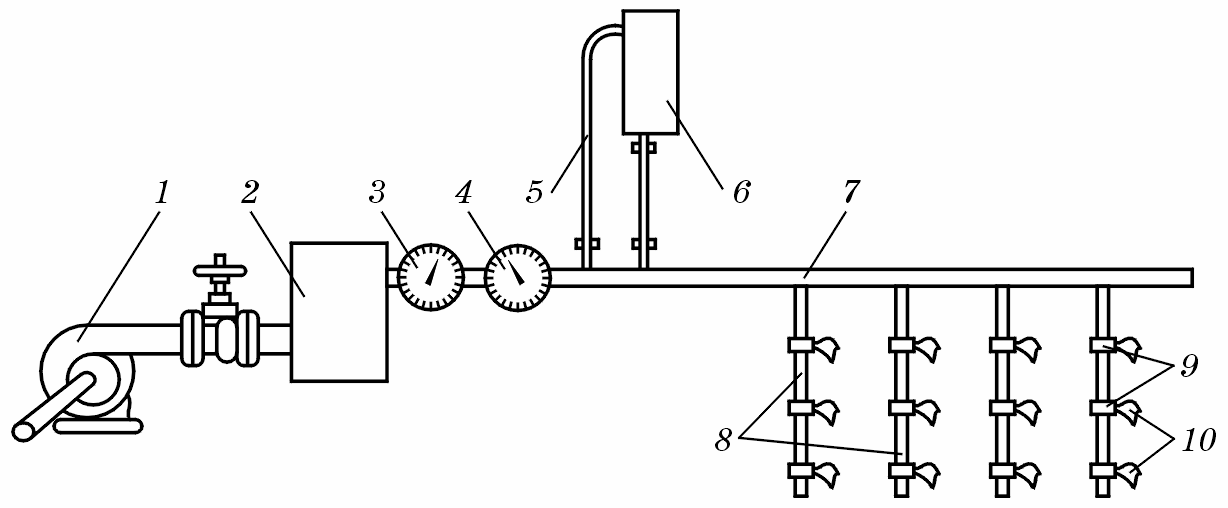
Система крапельного зрошення (рис. 13.28) складається із насоса 1, фільтрів очищення води 2, контрольних приладів 3 і 4, гідропідживлювача 6, з’єднувального 5, магістрального 7 і розподільного 8 трубопроводів, крапельниці 10.

Рис. 13.28. Схема системи крапельного зрошення: 1 — насос; 2 — фільтр очищення води; 3 і 4 — контрольні прилади; 5 — з’єднувальний трубопровід; 6 — гідропідживлювач; 7 — магістральний трубопровід; 8 — розподільний трубопровід; 9 — патрубки; 10 — крапельниці
Цим способом поливають, як правило, багаторічні насадження. Розподільні трубопроводи розміщують безпосередньо на поверхні ґрунту або підвішують на висоті до 30 см, що дає змогу візуально стежити за роботою крапельниці. Витрата води крапельницями залежить від водопроникності ґрунту і становить 1,5...10 дм3/год
Дощувальні машини і установки
Дощувальна машина ДКШ-64 «Волжанка» — це середньоструминна, багатоопорна, самохідна, позиційної дії з фронтальним переміщенням машина, яка призначена для поливу дощуванням зернових, деяких видів овочевих, технічних культур, багаторічних трав і пасовищ. Машина працює віл закритої зрошувальної мережі, а за наявності пересувних насосних станцій може використовуватися на ділянках з відкритою зрошувальною мережею (рис.13.31).
Дощувальна машина «Волжанка» складається з двох поливних крил, дощувальних апаратів та привідного візка. Крила розміщені з обох боків поливного трубопроводу зрошувальної мережі. Ширина захвату двох крил 800 м.
Для звільнення від води трубопроводи обладнані зливними клапанами. Опорні колеса жорстко приєднуються до поливного трубопроводу. Привідний візок

Рис. 13.31. Дощувальна машина ДКШ-64 «Волжанка»
призначений для перекочування крил машини з одного місця на інше і розміщений у центрі поливного трубопроводу.
Дощувальні машини ДКШ «Волжанка» працюють так. Поливне крило за допомогою гнучкого шланга підключають до гідранта і відкривають заслінку. Під тиском води, що надходить у трубопровід, зливні клапани автоматично закриваються, починають працювати дощувальні апарати, зрошуючи ділянку. Після закінчення поливу заслінку на гідранті закривають. При цьому зливні клапани автоматично відкриваються і вода з трубопроводу виливається. Потім відокремлюють гнучкий шланг від гідранта і закріплюють його на поливному трубопроводі. Вмикають двигун і поливне крило перекочують на нову позицію до іншого гідранта та встановлюють так, щоб дощувальні апарати були у вертикальному положенні. Вимикають двигун і закривають його кожухом. Після цього трубопровід приєднують до гідранта, відкривають заслінку і продовжують полив. Друге поливне крило приєднують до першого гідранта, відкривають заслінку і проводять полив смуги другого крила на першій позиції. Таким чином, обидва поливні крила працюють одночасно. Перекочують поливні крила з позиції на позицію почергово.
Дощувальна машина ДФ-120 «Дніпро» — фронтальної позиційної дії.
Призначена для поливу зернових, технічних, овочевих культур, багаторічних трав і пасовищ. Полив здійснюється від гідрантів закритої зрошувальної системи, розміщених на відстані 54 м один від одного. Ця машина — алюмінієвий трубопровід, який має діаметр 180 мм, довжину 448 м, встановлений на 17 рухомих візках. Ферми за допомогою тросової підвіски підтримують водопровідний пояс. На відкрилках ферм змонтовані дощувальні апарати «Роса-3». Опори обладнані мотор-редукторами, що є приводом машини. Джерелом електроенергії є пересувна електростанція. На тракторі ЮМЗ-6Л встановлено синхронний генератор ЕССб-82-42, що приводиться в рух від вала відбору потужності (ВВП) трактора.
На одній машині встановлюють два приєднувальних трубопроводи. Один приєднують до гідранта зрошувальної мережі, а другий закритий заглушкою.
Опорні візки водопровідного трубопроводу встановлені на двох металевих колесах, які приводяться в рух мотор-редукторами.
Дощувальні агрегати ДДА-100М і ДДА-100МА організовують з відкритих зрошувальних систем.
Розподіляють воду на полях за допомогою тимчасової зрошувальної системи, що складається з тимчасових зрошувачів, вивідних борозен і поливної
мережі. Останніми роками для поливу двоконсольними агрегатами застосовують також комбіновані системи зрошення: в них об’єднуються відкрита і закрита системи. Господарські розподільники будують із закритими трубопроводами, а ділянкові зрошувачі — відкритими. Ці зрошувачі розміщують на відстані 120 м один від одного.
Обслуговують двоконсольний агрегат два працівники: машиніст-тракторист і поливальник.
Залежно від поливної норми дощувальний агрегат має здійснювати парну або непарну кількість проходів уздовж зрошувачів. Найбільша економія води досягається тоді, коли полив починається з голови зрошувача, а кількість проходів агрегату непарна.
Дощувальна машина «Кубань-М» (рис. 13.32) — багатоопорна машина фронтальної дії з електроприводом, призначена для поливу зернових, овочевих і технічних культур, багаторічних трав та пасовищ. Вона складається з

Рис. 13.32. Дощувальна машина «Кубань-М»: 1 — центральний візок; 2 — облицьований зрошувальний канал; 3 — всмоктувальний патрубок; 4 — плаваючий клапан; 5 — крила машини; 6 — опорні візки
двох крил 5, кожне з яких має сім шарнірно з’єднаних між собою секцій 52,5 м завдовжки, що спираються на візки 6 з пневматичними колесами і електричним приводом.
Центральну секцію розміщують на чотириколісному візку 1 і вздовж зрошувального каналу 2. На секцію встановлюють дизель-насосний агрегат, генератор, щити керування машиною, кабелі, що з’єднують генератор зі щитами керування, механізмами автоматизації та мотор-редукторами. До насоса приєднують всмоктувальний патрубок 3 з плаваючим клапаном 4. Опори обладнані мотор-редукторами, що є приводом машини. Джерелом електроенергії є генератор, встановлений на візку 1.
Машина має системи керування і захисту, які забезпечують вибір напрямку руху, запуск і зупинку, середню швидкість руху, ручну зупинку будь-якого візка, автоматичну синхронізацію руху і аварійну зупинку.
Полив машина здійснює в режимі роботи при автоматичному русі вздовж відкритого облицьованого каналу внутрішньогосподарської зрошувальної мережі. Норми поливу залежать від зміни середньої швидкості руху і зберігання постійної подачі водяного насоса.
Дощувальна машина «Каравела» — багатоопорна, фронтальної дії, призначена для поливу зернових, технічних, овочевих культур, багаторічних трав і пасовищ. Полив здійснюють під час руху одночасно із забором води з відкритого каналу. Машина складається з двох машин «Фрегат», з’єднаних центральним візком. На ній змонтовано насосно-силову установку з водозабірним вузлом, пульт керування і контролю, прилади системи стабілізації курсу. Машина обладнана автоматичними системами стабілізації курсу вздовж каналу, синхронізації руху візків, автоматичними системами аварійного захисту машини від зміщення відносно каналу, вигину водопровідного трубопроводу, порушення режиму дизель-насосної установки.
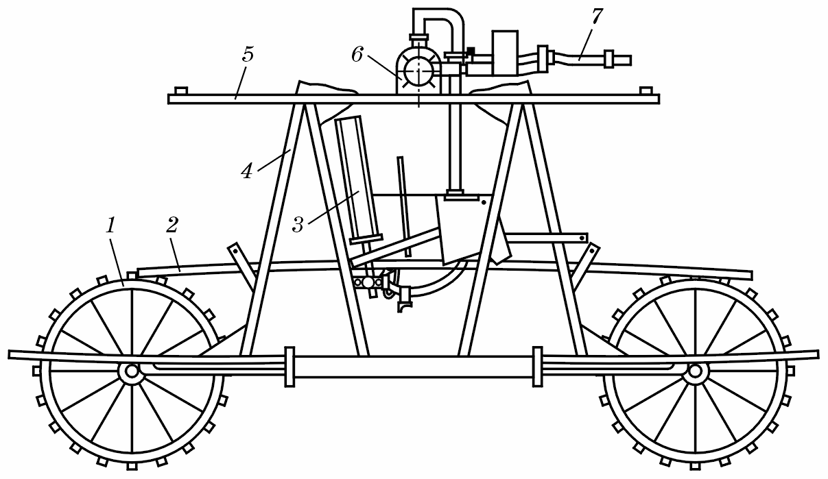
Дощувальну машину «Фрегат» (рис. 13.33) застосовують для поливу зернових, овочевих, технічних культур, багаторічних трав і пасовищ. Полив здійснюють по колу. Залежно від природно-кліматичних умов зони зрошення використовують машини «Фрегат» різних модифікацій — ДМ і ДМУ, які складені з уніфікованих вузлів та деталей. Вони відрізняються кількістю самохідних опор і режимом роботи, робочим тиском, витратою води, інтенсивністю дощу.
С а м о х і д н і о п о р и (рис. 13.34) призначені для кріплення на них водопровідного трубопроводу і переміщення його під час поливу. Їх встановлюють на металевих колесах 1, що приводяться в рух від гідроприводу 3 через систему важелів 2. Гідропривід кріпиться до рами 4, на якій також встановлені

Рис. 13.33. Дощувальна машина «Фрегат»: 1 — водопровідний трубопровід; 2 — дощувальні апарати; 3 — самохідна опора

Рис. 13.34. Самохідна опора машини «Фрегат»: 1 —колесо; 2 — система важільного механізму приводу коліс; 3 — гідропривід; 4 — рама; 5 — труба; 6 — система автоматичної синхронізації руху опори; 7 — огорожа
коротка труба 5, система автоматичної синхронізації руху опори 6 і огорожа коліс 7.
Самохідні опори розміщують на різних відстанях від центра обертання, тому вони рухаються з різною швидкістю і підтримують пряму лінію водопровідного трубопроводу. Забезпечують це відповідним регулюванням дросельних клапанів, установлених на всіх візках, крім останнього. Дросельні клапани регулюють так, щоб, починаючи з передостанньої опори, кожний наступний пропускав до гідроциліндра меншу кількість води.
Під час роботи дощувальних машин різних модифікацій потрібно підтримувати рекомендований для кожної машини робочий тиск, оскільки від нього залежить якість поливів, змінюється швидкість руху машин, поливна норма, радіус дії дощувальних апаратів, крупність крапель дощу, можуть виникати поломки і несправності машин.
Експлуатація дощувальних машин «Фрегат» пов’язана з експлуатацією насосних станцій і водопроводів закритої зрошувальної мережі. Для зменшення витрат води потрібно закрити заслінки на машинах перед ввімкненням їх у роботу. Це скорочує час наповнення системи водою і зменшує витрати води через зливні клапани та дощувальні апарати. Щоб вимкнути дощувальну машину, потрібно спочатку зупинити насосний агрегат.
Технологічне налагодження дощувальної машини «Фрегат». Повністю закрити ручку регулятора швидкості руху останнього візка і промивний патрубок (рукоятку крана-задавача встановити у положення «Закрито»). Підняти штовхачі коліс привідних візків, відкрити всі крани дощувальних апаратів.
Увімкнути насосну станцію і, плавно відкриваючи засувку на напірному трубопроводі, довести тиск на нерухомій опорі до 0,65 МПа.
Налагоджувати апарати від першого до останнього візка в такій послідовності: закрити кран перед апаратом, що регулюється; встановити і закріпити на основній насадці манометр з трубкою Піто на відстані 3 мм від кінця сопла; поступово відкриваючи кран, довести тиск води за манометром приладу ППД-6 до потрібного значення.
Установити кут сектора поливу кінцевого дощувального апарата. При встановленні кінцевого апарата на полив по колу необхідно підняти і закріпити палець перекидного важеля.
Перевірити роботу всіх апаратів у зворотній послідовності. Після перевірки ввести у струмінь гвинти-розсікачі так, щоб не порушити компактність струменя і характеру обертання апарата. Перевести кран-задавач у положення «Відкрито» і опустити штовхачі коліс.